长城也是很能整活啊,
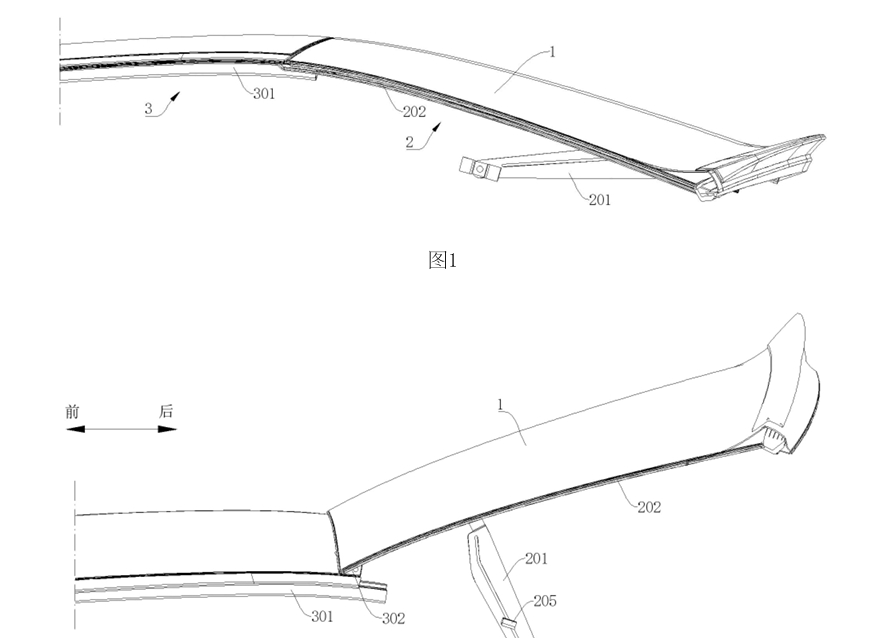
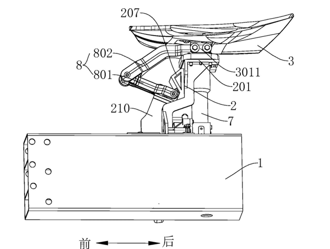
什么叫做“电动尾翼安装基座在纵梁上”,
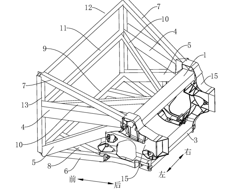
还有什么叫做“用于高性能车辆的框架式后车身”?
还有一个神似布加迪Tourbillon的方向盘?
汽场全开大v聊车
长城也是很能整活啊,
什么叫做“电动尾翼安装基座在纵梁上”,
还有什么叫做“用于高性能车辆的框架式后车身”?
还有一个神似布加迪Tourbillon的方向盘?
汽场全开大v聊车
猜你喜欢
【1评论】【7点赞】
【2评论】【1点赞】
【22评论】【13点赞】
【158评论】【127点赞】
【8评论】【5点赞】
【7评论】【4点赞】
作者最新文章
热门分类
汽车TOP
汽车最新文章